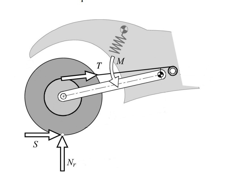
Посмотрим какие силы действуют на маятник. Хотя мой препод по физике мог стукнуть учебником по башке за такие выражения, приговаривая, что силы не действуют, а действуют тела с силами, но меня просили тратить поменьше букв.

На мотоциклах с карданным приводом вместо силы действия цепи T будет присутствовать момент, создаваемый парой шестерен в редукторе и эта составляющая работает в обратном направлении, нежели в цепном приводе.
В состоянии покоя сила упругости M уравновешена вертикальной статической нагрузкой, если мотоцикл начинает ускоряться, то динамическая составляющая, которая зависит от трех компонентов - силы тяги, силы действия цепи и перераспределения веса, изменяется тоже. Что происходит с пружиной подвески, когда мотоцикл начинает ускоряться?
Если мы проведем прямую через верхнюю часть цепи и прямую, проходящую через центры осей звездочек, то в месте их пересечения получим точку А. Если затем провести прямую, проходящую через полученную точку и точку контакта заднего колеса с асфальтом, то мы получим так называемую линию приседания. А угол, образованной этой прямой к горизонтальной плоскости называется углом приседания - σ

Результирующая сила Fr , представляющая сумму силы перераспределения нагрузки и силы тяги, приложенных к точке контакта заднего колеса, наклонена относительно горизонтали под углом, названным углом переноса нагрузки τ. Линия действия силы Fr называется линией переноса нагрузки.
Коэффициент приседания κ — это отношение момента, созданного перераспределением нагрузки, к моменту, созданному суммой силы действия цепи и силы тяги.
Этот коэффициент является функцией только геометрических характеристик, и в частности, он равен отношению тангенса угла перераспределения нагрузки τ к тангенсу угла приседания σ
Поведение задней подвески мотоцикла в фазе разгона может иметь три состояния:
Так а что на практике? Хорошо или плохо приседание подвески. Если подвеска приседает, то в момент приседания уменьшается нагрузка заднее колесо и снижается коэффициент его сцепления с дорогой. Если же наоборот, подвеска разжимается, то сцепление увеличивается, но сама подвеска становится жесткой и не отрабатывает неровности. В идеале производители стремятся к тому, чтобы эффект приседания и наоборот подъема был минимальным, хотя это технически сложно.
Например, можно сделать вторую, промежуточную звезду, находящуюся на оси маятника, чтобы нивелировать силу действия цепи. С этой же целью применялась система А-трак, с двумя дополнительными звездочками над и под его осью. Кто-то пробовал изготовить параллелограммный маятник, с двумя креплениями спереди и сзади.
Система Tracklever запатентованная Josef Lluis Belil и изначально предназначавшаяся для борьбы с хайсайдом, риск которого увеличивается из-за дополнительного сжатия подвески в повороте и при подаче тяги. В этой системе ведущая звездочка такого же размера, как задняя и установлена на раме, коаксиально с осью маятника, чтобы поддерживать параллельность цепи с линией осей маятника и заднего колеса.
Хонда в борьбе за быстрый выход из поворота своего NSR500 GP 1988 года, сделала ему почти горизонтальный маятник, который увеличивал приседания на разгоне. Но, тут помимо повышенного риска хайсайда, появился еще один неприятный побочный эффект. При выходе из поворота быстрый перенос веса с переднего колеса выносил мотоцикл на широкую траекторию.
Кто-то в Öhlins проанализировал это и выпустил четырехстраничную памятку о том, как использовать положение крепления оси маятника для предотвращения приседаний. К началу 1990-х годов слухи об этом распространились настолько, что серийные модели мотоциклов, омологированные для World Superbike, производились с эксцентрическим креплением маятника в раме.
Какие плюсы от приседания? Любое понижение центра тяжести на разгоне позволяет отодвинуть момент, когда переднее колесо начнет задираться в воздух. Это актуально для мотогонок и для этого сейчас используются устройства холшот. Изначально это устройство использовалось в мотокроссе, и работало до первого торможения. Затем появилось в кольцевых мотогонках, сначала на переднем колесе, потом на обоих и с управлением кнопкой. Правда ходят слухи, что эту лавочку скоро прикроют.
Помимо разгона, мотоциклы еще и тормозят и тут тоже важны эффекты анти и про приседания.
Торможение, независимо от того, происходит ли оно передним или задним тормозом, всегда переносит нагрузку с заднего колеса на переднее, но если задний суппорт прямо прикреплен к маятнику, как это обычно бывает, то тормозной момент с заднего колеса передается на раму через маятник, пытаясь опустить ось маятника и, таким образом, стремясь сжать подвеску- squat. В этом есть некоторый плюс, поскольку мы немного понижаем ЦТ на торможении тем самым уменьшая уровень переноса нагрузки.
Однако серьезная проблема может возникнуть, когда squat чрезмерен, и это проявляется в дроблении заднего колеса при сильном торможении -чаттер.
Этот процесс происходит следующим образом: резкое нажатие на тормоз стремится сжать подвеску, и поскольку неподрессоренная масса (колесо и все что к нему прикручено) значительно меньше, чем весь остальной мотоцикл, то колесо отскакивает. Когда колесо отрывается от земли и, следовательно, шина теряет сцепление, тормоз блокируется, и сжимающий момент исчезает. Когда колесо возвращается на землю, все еще заблокированное, ударная нагрузка на шину может вызвать достаточно резкое торможение, чтобы снова запустить весь этот процесс - и так далее. Особенно с учетом того, что основную работу по торможению выполняет переднее колесо и сильнее прижато к асфальту, а заднее, наоборот, не нагружено.
Поскольку тормозной суппорт передает крутящий момент в том месте, где он прикручен к маятнику, то, для того чтобы нивелировать этот момент, на некоторых мотоциклах делают плавающее крепление суппорта на оси заднего колеса, а специальный упорный линк для передачи тормозящего момента, соединяют напрямую с рамой.
Такому приседанию на торможении в большей мере подвержены мотоциклы с карданной главной передачей, поэтому некоторые производители таких мотоциклов продолжают использовать данную конструкцию. Например, BMW. В данном случае этот линк работает и на торможении, и на разгоне
На внедорожных мотоциклах такая система встречалась очень давно у Husqvarna. (модель 400 cross)
В современных мотоциклах, где улучшены характеристики и тормозов, и подвесок, в сочетании с ABS, высоким ЦТ и короткой колесной базой проблема чаттера не столь актуальна. Все равно заднее колесо или болтается в воздухе, или делает некоторую работу по торможению благодаря вспомогательным системам.